BWIN必赢股份集团 - 拓扑声子晶体减震技术专家

技术咨询热线:0577-61222333

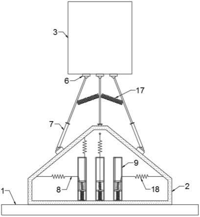
贵大学生团队成功研发高性能地震勘探救援机器人

类别:研发进展 发布时间:2025-10-14 浏览人次:

  

贵大学生团队成功研发高性能地震勘探救援机器人(图1)

  近日,贵州大学北阿拉巴马国际工程技术学院“探震锋行”学生团队成功研发出一款高性能地震勘探救援机器人,该装备融合边缘计算、自研复合动力系统和软体机械臂等多项技术,有望为震后狭小空间救援提供全新解决方案。

  目前,该机器人已与贵州众志救援队达成合作关系,其部分功能已通过第三方性能测试投入实地救援应用,为提升复杂环境下的救援效率提供了科技支撑。

  “从图纸设计到实物落地,我们经历了无数次失败,但每次想到这款机器人可能在未来拯救生命,就觉得所有付出都值得。”团体核心成员杨洲说,针对当前地震勘探救援机器人普遍存在的复杂废墟环境通过率低、生命探测易受干扰、续航能力难以满足长时间救援需求等技术痛点,“探震锋行”学生团队历时5年研发,通过多学科技术融合,实现了多项技术突破。

  该机器人利用边缘化计算机技术对进入灾区后使用深度相机和雷达所获取的2D与3D地图数据、人体红外信息进行保存或远程传输,为后续救援人员进入灾区提供数据支持,并能够与狭小区域的受困群众取得联系并输送水和食物等生命物资等。

  该机器人还搭载“生命地图绘制系统”,可构建灾区三维必赢网址实景模型,提升生命搜救效率;配备自主研发的复合动力与减震系统,保障其在复杂地形中稳定行进与设备安全。值得一提的是,机器人创新配置了“软体机械臂”,具备类生物触手的灵活弯曲与伸缩能力,可在不确定探测目标是否为人体生命特征时,近距离确认信息,有效解决废墟环境中生命辨识难的现实问题。

推荐阅读

必赢中国官方网站地震避险指南来了红河人戳→

     。它就像是一个小型的电视屏幕必赢中国官方网站,一旦地震来袭,地震波抵达倒计时等预警信息就...

2025-10-14
贵大学生团队成功研发高性能地震勘探救援机器人

     近日,贵州大学北阿拉巴马国际工程技术学院“探震锋行”学生团队成功研发出一款高性能地震勘探...

2025-10-14
必赢中国应对气候变化风险 巨灾保险织密防灾减灾“安全网”

     业内人士建议,保险公司应积极通过科技赋能,将风险管理关口前移,推动风险管理从“事后理赔”...

2025-10-13
地震避险指南来了石屏人戳→

     。它就像是一个小型的电视屏幕,一旦地震来袭,地震波抵达倒计时等预警信息就会出现在屏幕上,...

2025-10-13
云南省全面加强防灾减灾体系建设 积极应对各类自然灾害 筑牢安

     今年,我省气候复杂多变,自然灾害形势特别严峻,面对冬春季森林火险等级持续偏高,雨季提前、...

2025-10-13
筑牢安全防线 守护幸福家园

  今年,云南省气候复杂多变,自然灾害形势特别严峻,面对冬春季森林火险等级持续偏高,雨季提前、局部极端降雨频发、地质灾害风险加剧等挑战,云南省坚持人民至...

2025-10-13
400-8700-6170577-61222333
企业邮箱jsz5858@sohu.com
官方微信