BWIN必赢股份集团 - 拓扑声子晶体减震技术专家

技术咨询热线:0577-61222333

储罐及塔设备出口管道挠性连接为什么这么重要?

类别:研发进展 发布时间:2025-11-27 浏览人次:

  在石化及储运装置中,决定工艺安全的不总是宏大的设备,而往往是一个不起眼的“柔性连接”。

  在危化企业的安全检查里,常常有被点名的“关键点”——储罐出口管道的挠性连接。听起来有点拗口,但它的重要性不容忽视。

  因为它关乎的不是别的,而是——储罐及设备会不会因为一点小小的变形,就导致大事故。

  想象一下,一只大水缸底部接着一根管子。如果地面轻微下沉,或者冷热变化让管道伸长缩短,甚至突遇地震,管道和水缸连接的地方就可能被硬生生扯开。对于储存易燃易爆物料的储罐来说,这就是一颗随时可能引爆的“隐形炸弹”。

  而在储罐里,这个接口就是焊缝和喷嘴,一旦裂开,泄漏的就不再是清水,而可能是成千上万升的易燃液体。

  通俗来说,就是在管道与储罐出口相连的地方,给它一点“活动的空间”。 当地基沉降、温度变化或外力冲击出现时,这些柔性的设计可以像“减震器”一样,吸收和释放应力,避免把力直接传递到焊缝和罐壁上。

  《石油化工储运系统罐区设计规范》强调,主要进出口管道必须采用柔性连接,以满足地基沉降和抗震需要。

  利用弯曲让管道自然具备弹性,简单可靠。就像家里拉电线时会故意留点“松”,避免拉直后随时被扯断。

储罐及塔设备出口管道挠性连接为什么这么重要?(图1)

  这种类似“金属弹簧”的软管,能在一定范围内伸缩和弯曲,很适合空间有限的地方。缺点是需要定期检查,防止疲劳损坏。

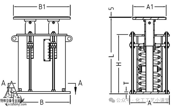
  通过弹簧来“分担”管道重量和位移,把应力减轻在连接点之外。看似不起眼,但在热胀冷缩和沉降较大的场景下非常有效。

  很多与塔设备连接的管道,由于管径大、温度变化非常明显等原因会使管道应力变化非常大,会导致管道破裂, 甚至拉裂塔体引发重大事故。

储罐及塔设备出口管道挠性连接为什么这么重要?(图2)

储罐及塔设备出口管道挠性连接为什么这么重要?(图3)

  储罐的出口管道挠性连接及塔设备管道的弹簧支撑,说到底就是一个“安全缓冲器”。它存在的意义,是在不可避免的沉降、热胀冷缩、甚至地震面前,为储罐争取一条必赢中国不撕裂、不泄漏的安全路径。

  在工业安全的世界里,没有“无关紧要的小问题”。挠性连接,真不是“软”处理,而是硬道理。

  “版权声明:我们的目的旨在行业分享交流,传递行业正能量,讲好与特种设备有关故事,引导行业与公众守法合规。如有侵权请联系我们删除!”

  特别声明:以上内容(如有图片或视频亦包括在内)为自媒体平台“网易号”用户上传并发布,本平台仅提供信息存储服务。

  理想汽车CEO李想承认管理模式错误:全面回归创业公司模式,告别职业经理人体系

  胡彦斌牵小16岁女友状态回春?郑爽深夜发文:人设是装的渣是线大陆武力收台后,绿营赶紧改口,蒋万安暴露真面目?

  香必赢中国港起火大楼内发现生还者!工人抽烟引发火灾?易燃材料疑包裹整楼封死窗户…

  杨瀚森1篮板开拓者杯赛不敌马刺,福克斯37+6+8阿夫迪亚37+6+8

  绵中22人、南山18人、东辰11人......NOIP2025四川正式名单公布

推荐阅读

防震减灾基层治理 多措并举促“四化”提升 济南市积极推进防震

     2023年底,济南市开展防震减灾基层治理现代化试点建设。今年以来,省、市两级8个试点单位...

2025-11-28
致11死的火车路段发生了什么?仍需等待官方披露更多细节

  致11死的火车路段发生了什么?仍需等待官方披露更多细节。2025年11月27日,昆明洛羊镇火车站内发生一起试验列车碰撞施工作业人员的事故,导致11人...

2025-11-28
算力领跑、服务升级!数字河北精彩答卷来啦

  11月26日下午,河北省人民政府新闻办公室举行“十四五”高质量发展河北答卷系列主题新闻发布会河北省数据和政务服务局专场,河北省数据和政务服务局党组书...

2025-11-28
必赢中国强瑞技术:光模块散热器已大批量出货

     同花顺300033)金融研究中心11月28日讯,有投资者向强瑞技术301128)提问, ...

2025-11-28
新版《国家地震应急预案》解读一图读懂核心变化!

     经国务院同意,现将修订后的《国家地震应急预案》印发给你们,请结合实际认线日经国务院批准、...

2025-11-28
蜀道交通服务集团开展LNG泄漏应急演练

     为进一步强化高速服务区能源供给安全保障能力,提升跨部门协同处置突发事件的实战效能,11月...

2025-11-28
400-8700-6170577-61222333
企业邮箱jsz5858@sohu.com
官方微信